人口固定样本跟访调查方案
一、总说明
(一)调查目的
为深入贯彻落实党的二十大和二十届中央财经委员会第一次会议精神,加强人口统计和动态监测预警,健全完善年度流动、留守儿童统计监测,为推动人口高质量发展提供坚实的信息支撑。
(二)调查频率和标准时点
调查共开展两次,第一次调查的标准时点为2024年6月1日零时,第二次调查的标准时点为2024年11月1日零时。
(三)调查对象
调查对象为国家统一抽取清单中的指定人员和相关衍生人员。
(四)调查内容和调查表
调查内容主要包括:调查对象的姓名、性别、年龄、公民身份号码、受教育程度、迁移流动情况、工作状况、婚姻状况、生育和死亡情况、儿童生活状况等。
调查表分为过滤模块F表,跟访对象模块P表、D表, 儿童模块C表,衍生人员模块Y表。
(五)调查方法
调查登记采取调查员使用电子采集设备(PAD或智能手机)入户询问、当场填报等方式。
(六)抽样方法
以第七次全国人口普查常住人口库为抽样框,采取分层和系统抽样直接抽取住户,第一次调查全国样本约为8万户、20万人,第二次调查全国样本约为4万户、10万人。
(七)调查的组织实施
1.组织领导。调查在当地政府的领导下,以统计机构为主组织实施,并在基层组织的协助下,选派调查员开展调查登记工作。各级统计机构要积极争取政府和有关部门的支持,做好本区域内的调查工作,确保调查数据质量。
2.经费保障。调查所需经费由中央和地方各级人民政府共同负担。各地要切实做好调查经费保障,特别要落实好调查指导员和调查员补贴、调查户补助、通讯费等必要经费。
3.调查指导员和调查员的选聘、培训与管理。调查指导员、调查员的选聘工作由县级统计机构负责。调查指导员、调查员主要从政府统计系统和基层组织人员中选调,也可从社会招聘,应尽可能保持调查员队伍的稳定。各级统计机构要加强对调查员的培训,尽可能减少培训层级,提升培训成效。各级统计机构要强化对调查员工作的监督检查。
4.调查的宣传工作。为使调查工作顺利进行,各级统计机构要采用多种手段深入宣传调查的意义和要求;要做好对被调查户的宣传工作,解除其思想顾虑,如实申报调查资料。
5.调查员使用电子采集设备(PAD或智能手机)严格按照调查程序中分配到的调查清单寻找指定户和指定人员,根据反馈的地址信息入户开展调查。
(八)质量控制
调查实行严格的质量控制制度,建立健全调查数据质量追溯和问责机制,确保调查数据可核查、可追溯、可问责。质量控制工作由国家统计局统一组织,由各级统计机构负责实施,采用检查、督导、平台监管、电话抽查等方式对调查各阶段工作进行质量控制,确保数据质量。
(九)数据处理
1.国家统计局数管中心统一编制数据采集、审核和汇总程序。
2.各省(自治区、直辖市)统计机构要在规定的时间内,做好调查数据的报送工作。数据通过电子设备采集后直接上报,第一次调查于2024年6月25日前完成,第二次调查于2024年12月5日前完成。
3.数据审核。在数据采集上报期间,各级统计机构通过平台对报送数据进行审核和分析,对于审核中发现的问题,要及时返回基层核实、据实修改,确保源头数据质量。
(十)调查工作要求
1.坚持依法调查。调查工作要严格按照《中华人民共和国统计法》《中华人民共和国统计法实施条例》及相关规定组织开展。不得以任何方式强令、授意调查机构和调查人员编造、篡改调查资料。调查中获得的能够识别或者推断单个调查对象身份的资料,任何单位和个人不得对外提供、泄露,不得用于调查以外的目的。
2.为了保证全国数据的调查范围、分类和计算方法的统一性,各地区必须严格执行调查制度的规定。遇到特殊情况要向上级有关部门请示,不得按照个人的理解擅自处理。严禁调查员不与调查对象联系,直接照抄行政记录等资料,以及不使用电子采集程序的行为。
3.各地应建立通报制度,对于检查、核查发现的调查不规范、质量问题及工作进度及时进行通报。
4.各省(自治区、直辖市)统计局人口处应于2024年7月20日前,将本地区第一次固定样本跟访调查工作总结报送国家统计局人口和就业统计司;2024年12月31日前,上报第二次固定样本跟访调查工作总结报告。
5.原拟于2024年6月开展的2023年人口变动情况抽样调查中的固定样本跟访调查暂不开展。
二、调查表式
人口固定样本跟访调查表
(2024年5月修订)
|
根据《中华人民共和国统计法》的规定,公民有义务提供国家统计调查所需要的情况;我们对您提供的信息负有保密义务。 |
表 号: |
R104表 |
|
制表机关: |
国 家 统 计 局 |
|
|
文 号: |
国统字〔2023〕88号 |
|
|
有效期至: |
2025年1月 |
|
调查地址 省(区、市) 地(市、州、盟) 县(市、区、旗) 乡(镇、街道) 村(居)委会 (详细地址/具体门牌)
|
|
|
一、过滤模块F |
|
|
F1 |
【依次列举本户跟访对象】该调查对象目前的情况是 ¨1.为本村(居)委会常住人员,包括短期离家,请核实详细地址/具体门牌: (->填报跟访对象模块P/C)
¨2.已搬离本村(居)委会,仍可以联系上该对象(若选该项,请具体填报)
F1_2_1. 该跟访对象现住详细住址: 省(区、市) 地(市、州、盟) 县(市、区、旗) 乡(镇、街道) 村(居)委会 (详细地址/具体门牌) F1_2_2. 该跟访对象联系方式: F1_2_3. 是否推送至现住地进行调查(注:全户外出的不能采用电话调查) ¨1.是,推送至现住地进行调查 ¨2.否,本地可调查(->填报跟访对象模块P/C)
¨3.无法调查到该对象(若选该项,请具体填报)
F1_3. 无法调查该跟访对象情况 ¨1.仍住原地址,拒绝访问 ¨2.未住原地址,通过电话联系拒绝提供现住址或拒绝接受调查 ¨3.未住原地址,电话挂断或拒接,无法判断是否为跟访对象 ¨4.仅有地址且多方打探找不到电话等联系方式,因而联系不到本人 ¨5.在监狱、参军或国外等不适合调查的情况 ¨6.其他情况,请注明
¨4.已死亡(->填报跟访对象模块D) |
|
|
|
|
*F2 |
本地址中跟访对象衍生人员情况 |
|
【依次列举本户跟访对象】与该人共同居住的配偶和子女(非跟访对象)有 人 (->填报普通衍生人员模块Y) 需满足条件: 1.调查时点在本户居住,且不属于跟访对象; 2.收养子女也计入该项。 |
|
|
二、跟访对象模块P |
|
|
每个人都填报的项目 |
|
|
P1 |
姓名 |
|
P2 |
与户主关系 ¨0.户主 ¨1.配偶 ¨2.子女 ¨3.父母 ¨4.岳父母或公婆 ¨5.祖父母 ¨6.媳婿 ¨7.孙子女 ¨8.兄弟姐妹 ¨9.其他 |
|
P3 |
公民身份号码 |
|
P4 |
性别 ¨1.男 ¨2.女 |
|
P5 |
出生年月 年 月 |
|
P6 |
民族 |
|
P7 |
调查时点居住地与户口登记地是否在同一个乡(镇、街道) ¨1.是(转到P11题) ¨2.否 |
|
P8 |
户口登记地 ¨1.居住地所在县(市、区、旗)的其他乡(镇、街道) ¨2.居住地所在县以外的其他县(市、区、旗),请在下面填写地址 省(区、市) 地(市、州、盟) 县(市、区、旗) |
|
P9
|
离开户口登记地时间 ¨1.不满半年 ¨2.半年以上,不满一年 ¨3.一年以上,不满二年 ¨4.二年以上,不满三年 ¨5.三年以上,不满四年 ¨6.四年以上,不满五年 ¨7.五年以上,不满十年 ¨8.十年以上 |
|
P10 |
离开户口登记地原因 ¨0.工作就业 ¨1.学习培训 ¨2.随同离开/投亲靠友 ¨3.拆迁/搬家 ¨4.寄挂户口 ¨5.婚姻嫁娶 ¨6.照料孙子女 ¨7.为子女就学 ¨8.养老/康养 ¨9.其他 |
|
P11 |
户口所在户是否具有农村土地承包经营权 ¨1.是 ¨2.否 |
|
3周岁及以上的人填报的项目 |
|
|
P12
|
受教育程度 ¨1.未上过学(转到P14) ¨2.学前教育(转到P14) ¨3.小学 ¨4.初中 ¨ 5.高中 ¨6.大学专科 ¨7.大学本科 ¨8.硕士研究生 ¨9.博士研究生 |
|
P13 |
学业完成情况 ¨1.在校 ¨2.毕业 ¨3.肄业 ¨4.辍学 ¨5.其他 |
|
15周岁及以上的人填报的项目 |
|
|
★P14 |
工作情况 调查时点前一周是否为取得收入而工作了一小时以上(包括临时工、依托互联网平台灵活就业、家庭经营无酬帮工等) ¨1.是 ¨2.在职休假、在职学习培训、临时停工(保留工资) ¨3.未做任何工作(转到P18) |
|
★P15 |
上月工作报酬或经营净收入 包括奖金、个人缴纳部分的社保、实物折价,工作不足一个月的,按合同、协议或相关规定填报 元 |
|
★P16 |
行业 ¨1.农、林、牧、渔业 ¨2.采矿业 ¨3.制造业 ¨4.电力、热力、燃气及水生产和供应业 ¨5.建筑业 ¨6.批发和零售业 ¨7.交通运输、仓储和邮政业 ¨8.住宿和餐饮业 ¨9.信息传输、软件和信息技术服务业 ¨10.金融业 ¨11.房地产业 ¨12.租赁和商务服务业 ¨13.科学研究和技术服务业 ¨14.水利、环境和公共设施管理业 ¨15.居民服务、修理和其他服务业 ¨16.教育 ¨17.卫生和社会工作 ¨18.文化、体育和娱乐业 ¨19.公共管理、社会保障和社会组织 ¨20.国际组织 |
|
★P17 |
职业 ¨1.党的机关、国家机关、群众团体和社会组织、企事业单位负责人 ¨2.专业技术人员 ¨3.办事人员和有关人员 ¨4.社会生产服务和生活服务人员 ¨5.农、林、牧、渔业生产及辅助人员 ¨6.生产制造及有关人员 ¨7.不便分类的其他从业人员 |
|
P18 |
婚姻状况 ¨1.未婚(结束) ¨2.有配偶 ¨3.离婚 ¨4.丧偶 |
|
15—55周岁妇女填报的项目 |
|
|
P19 |
目前是否在妊娠期 ¨1.是,预产期时间 年 月 ¨2.否 |
|
P20 |
是否有过生育 ¨1.未生育 ¨2.有生育, 个,生育孩子时间: 按照孩子年龄由小到大顺序填写 年龄最小的孩子的生育时间 年 月 性别 ¨男 ¨女 年龄第二小的孩子的生育时间 年 月 性别 ¨男 ¨女 年龄第三小的孩子的生育时间 年 月 性别 ¨男 ¨女 …… 年龄最大的孩子的生育时间 年 月 性别 ¨男 ¨女 ★【所有出生日期在2020年11月1日及以后的孩子,分别->填写儿童模块C】 |
|
P21 |
是否打算生育或再生育 ¨1.打算 ¨2.不打算(结束) |
|
P22 |
打算生育或再生育的时间 ¨1.一年内 ¨2.一年至两年 ¨3.两年至三年 ¨4.三年以后 ¨5.未计划 |
|
三、跟访对象模块D |
|
|
D1 |
姓名 |
|
D2 |
与户主关系 ¨0.户主 ¨1.配偶 ¨2.子女 ¨3.父母 ¨4.岳父母或公婆 ¨5.祖父母 ¨6.媳婿 ¨7.孙子女 ¨8.兄弟姐妹 ¨9.其他 |
|
D3 |
公民身份号码 |
|
D4 |
性别: ¨1.男 ¨2.女 |
|
D5 |
出生年月 年 月 |
|
D6 |
死亡时间 年 月 |
|
四、儿童模块C |
|
|
每个人都填报的项目 |
|
|
★C1 |
姓名 |
|
★C2 |
居住地详细地址 省(区、市) 地(市、州、盟) 县(市、区、旗) 乡(镇、街道) 村(居)委会 (详细地址/具体门牌) |
|
★C3 |
公民身份号码 |
|
★C4 |
性别 ¨1.男 ¨2.女 |
|
★C5 |
出生年月 年 月 |
|
★C6 |
民族 |
|
★C7 |
调查时点居住地与户口登记地是否在同一个乡(镇、街道) ¨1.是(转到C11题) ¨2.否 |
|
★C8 |
户口登记地 ¨1.居住地所在县(市、区、旗)的其他乡(镇、街道) ¨2.居住地所在县以外的其他县(市、区、旗),请在下面填写地址 省(区、市) 地(市、州、盟) 县(市、区、旗) |
|
★C9
|
离开户口登记地时间 ¨1.不满半年 ¨2.半年以上,不满一年 ¨3.一年以上,不满二年 ¨4.二年以上,不满三年 ¨5.三年以上,不满四年 ¨6.四年以上,不满五年 ¨7.五年以上,不满十年 ¨8.十年以上 |
|
★C10 |
离开户口登记地原因 ¨0.工作就业 ¨1.学习培训 ¨2.随同离开/投亲靠友 ¨3.拆迁/搬家 ¨4.寄挂户口 ¨5.婚姻嫁娶 ¨6.照料孙子女 ¨7.为子女就学 ¨8.养老/康养 ¨9.其他 |
|
★C11 |
户口所在户是否具有农村土地承包经营权 ¨1.是 ¨2.否 |
|
★C12
|
孩子是否和父母共同居住 ¨1.和父母共同居住(转到C14) ¨2.和母亲一同居住(转到C14) ¨3.和父亲一同居住(转到C14) ¨4.未和父母共同居住 |
|
★C13 |
当前与孩子共同居住的主要照护人是谁 ¨1.祖父母 ¨2.父母的兄弟姐妹(叔伯姑姨舅)及其配偶 ¨3.孩子自己的兄弟姐妹 ¨4.其他亲属 ¨5.非亲属 ¨6.无照护人 ¨7.其他(请说明) |
|
★C14 |
当前就学状态 ¨1.幼儿园(含学前班)(转到C17) ¨2.小学一至三年级(转到C17) ¨3.小学四至六年级(转到C17) ¨4.初中(转到C17) ¨5.普通高中(转到C17) ¨6.中等职业学校(如中专、技校、职高等)(转到C17) ¨7.未在园或在校 ¨8.其他,请说明 |
|
★C15 |
未在园或在校的主要原因 ¨1.未到上学年龄(转到C19) ¨2.初中毕业(考不上)未继续上学(转到C19) ¨3.上学费用高,承担不起 ¨4.附近没有学校 ¨5.附近学校不接收 ¨6.家长流动导致暂时失学或辍学 ¨7.家庭缺少劳动力 ¨8.生病、残疾、健康问题 ¨9.不想上学 ¨10.其他,请说明 |
|
★C16 |
辍学后学校或政府是否实施干预措施帮助重返校园【义务教育未上学填写】(转到C19) ¨1.有 ¨2.没有 |
|
★C17 |
当前就读学校类型( ) ¨1.公办学校 ¨2.民办学校,有政府支持(对于幼儿园,指普惠性幼儿园) ¨3.民办学校,没有政府支持(对于幼儿园,指非普惠性幼儿园) ¨4.民办学校,但不知道是否有政府支持(对于幼儿园,不知道是否为普惠性) ¨5.其他,请说明 |
|
★C18 |
当前上学面临的主要问题(可多选,最多选三项) ¨1.无法就读公立学校 ¨2.入学手续流程繁琐复杂 ¨3.学校硬件和环境差 ¨4.学校师资力量弱 ¨5.学校收费高 ¨6.校风不好 ¨7.学校远、交通不便 ¨8.学习压力大 ¨9.较难融入和适应 ¨10.异地升学存在障碍 ¨11.无人辅导学习 ¨12.不存在困难 ¨13.其他,请说明 |
|
★C19 |
接受过的基本公共卫生服务或保健服务(可多选) ¨1.建立居民健康档案管理 ¨2.预防接种(如卡介苗、百白破疫苗、乙肝疫苗等) ¨3.0—6岁儿童健康管理(新生儿家庭访视、新生儿满月随访、体格检查和心理行为发育评估等) ¨4.0—3岁儿童中医药健康管理 ¨5.学校定期开展的体检 ¨6.其他,请说明 ¨7.未接受过任何服务 |
|
★C20 |
当前参加的医疗保险保障(可多选) ¨1.城乡居民基本医疗保险 ¨2.大病保险 ¨3.医疗救助 ¨4.商业医疗保险 ¨5.其他医疗保险,请说明 ¨6.未参加任何医疗保险 |
|
★C21 |
在当前居住地看病就医方面主要存在哪些问题(可多选,最多选三项) ¨1.儿科医疗资源不足 ¨2.医疗水平有待提高 ¨3.就医环境有待改善 ¨4.医疗费用高 ¨5.医保报销比例低 ¨6.医保保障范围不够广 ¨7.不允许在居住地参加基本医疗保险 ¨8.医保关系转移接续困难 ¨9.医保异地结算困难 ¨10.其他,请说明 ¨11.不存在问题 |
|
★C22 |
业余时间(上学、睡觉之外的时间)的主要活动(可多选,最多选三项) ¨1.上网娱乐 ¨2.上网学习 ¨3.和身边朋友线下玩耍 ¨4.看电视 ¨5.参加文体活动 ¨6.读书看报 ¨7.参加线下课外辅导班 ¨8.做家务 ¨9.没什么活动 ¨10.其他,请说明
|
|
★C23 |
过去半年遭受过的意外伤害(可多选,最多选三项) ¨1.锐器伤 ¨2.烧烫伤 ¨3.跌伤、扭伤 ¨4.动物咬伤 ¨5.交通事故 ¨6.溺水 ¨7.食物中毒 ¨8.触电 ¨9.其他,请说明 ¨10.都没有 |
|
★C24 |
最近一周平均每天上网娱乐时长 ¨1.不上网 ¨2.半小时内 ¨3.半小时—1小时 ¨4.1—3小时 ¨5.3—5小时 ¨6. 5小时以上 |
|
★C25 |
除家人以外,业余时间主要和谁在一起【仅流动儿童】 ¨1.基本不和其他人来往 ¨2.家乡来本地的同学/朋友 ¨3.家乡以外来本地的同学/朋友 ¨4.家在本地的同学/朋友 ¨5.其他,请说明 |
|
★C26 |
在居住地学习生活适应状况【仅流动儿童】 ¨1.非常适应(结束调查) ¨2.比较适应(结束调查) ¨3.一般(结束调查) ¨4.不太适应 ¨5.非常不适应 |
|
★C27 |
难以适应居住地的主要原因(可多选,最多选三项)【仅流动儿童】 ¨1.学校同学或居住地居民排外 ¨2.居住地和家乡存在文化差异 ¨3.缺少亲人朋友 ¨4.不能均等享受社会保障 ¨5.无法适应居住地学习节奏 ¨6.其他,请说明 |
|
五、普通衍生人员模块Y |
|
|
每个人都填报的项目 |
|
|
*Y1 |
姓名 |
|
*Y2 |
Y2—1.该人是哪位跟访对象的衍生人员(依次列举本户跟访对象) Y2—2.与该跟访对象的关系 ¨1.配偶 ¨2.子女 |
|
*Y3 |
公民身份号码 |
|
*Y4 |
性别 ¨1.男 ¨2.女 |
|
*Y5 |
出生年月 年 月 |
|
*Y6 |
民族 |
|
3周岁及以上的人填报的项目 |
|
|
*Y7 |
受教育程度 ¨1.未上过学 ¨2.学前教育 ¨3.小学 ¨4.初中 ¨5.高中 ¨6.大学专科 ¨7.大学本科 ¨8.硕士研究生 ¨9.博士研究生 |
|
15周岁及以上的人填报的项目 |
|
|
*Y8 |
工作情况 调查时点前一周是否为取得收入而工作了一小时以上(包括临时工、依托互联网平台灵活就业、家庭经营无酬帮工等) ¨1.是 ¨2.在职休假、在职学习培训、临时停工(保留工资) ¨3.未工作
|
填表人: 联系电话: 报出日期:20 年 月 日
注:带★指标仅年中调查,带*指标年底调查,其余指标两次均调查。
三、填表说明
(一)调查表的组成
调查表表式分为五个部分:《过滤模块F》,判断本地址跟访对象情况,简称《过滤表》;《跟访对象模块P》,调查抽中的固定样本的人口情况,简称《跟访表》;《跟访对象模块D》,调查抽中的固定样本中死亡人口情况,简称《死亡表》;《儿童模块C》,调查抽中的未满16岁跟访对象,以及女性跟访对象2020年11月1日及以后新生的儿童情况,简称《儿童表》;《普通衍生人员模块Y》,调查跟访对象的衍生人员情况,简称《衍生表》。
(二)标准时点
固定样本跟访调查第一次调查的标准时点为2024年6月1日零时,第二次调查的标准时点为2024年11月1日零时。
(三)登记原则
《跟访表》以户为单位进行登记,要求进行入户调查。调查对象短期离家不在家居住的,可由仍在本地址居住的亲属代报其信息,优先选择跟访对象作为代报人;调查对象户内部分跟访对象拆户离开本地址的,可由仍在本地址居住的跟访对象作为代报人;调查对象全户不在本地址居住的,可通过多种方式获取其现住详细地址和联系方式,由现住地在平台分配任务安排人员进行入户调查。现场调查时务必按照下发清单跟访本人进行填报,在每户调查开始前,需在身份确认模块对本户门口状况进行拍照上传,并以录音形式对跟访对象进行身份信息确认,确认内容需包括本户所有跟访对象的姓名、申报人姓名、申报人是否为跟访对象本人等信息。
(四)填写方法
1.《跟访表》以户为单位进行登记,采用调查员手持电子设备入户询问、现场填报等方式。
2.有标准选项的项目,根据实际情况选填。地址项目可根据行政区划地址列表进行选择。没有标准选项的项目,用文字或阿拉伯数字,根据实际情况填写。其中,姓名不能填写非汉字字符。
3.如果填写错误或发生逻辑关系异常,数据采集程序会给出审核异常提示。若为强制性审核错误,请根据提示信息对错误项目进行修改;若为确认性审核提示,需根据提示信息对异常项目进行确认,若情况属实,可忽略该条确认性审核提示。
4.调查员每填完一户,应即刻进行审核,将通过审核的信息向申报人当面宣读,核对无误后,由申报人签字确认。
5.调查表中带★指标仅年中调查,带*指标年底调查,其余指标两次均调查。
(五)指标解释
调查地址——填写到跟访对象现住详细地址,详细地址一栏需填写到门牌号,例如XX街XX小区名XX号。
过滤模块F
F1.本地址中跟访对象情况——根据采集程序列出的跟访对象依次填报各自情况,并根据选项跳转回答不同模块或问题。
F1_1.该跟访对象现住地址为本村(居)委会范围内地址,核实现住地详细地址和门牌,若村(居)内地址搬迁则填写现住地详细地址。
F1_2_1.该跟访对象现住详细地址——填写搬离本村(居)委会跟访对象的现住详细地址。
F1_2_2.该跟访对象联系方式——填写搬离本村(居)委会跟访对象的手机号码或固定电话。
F1_2_3.是否推送至现住地进行调查?——非全户搬离本村(居)委会的跟访对象,选择推送至现住地进行调查,还是本村(居)可调查。
F1_3.无法调查该跟访对象情况——根据无法调查的实际情况填报。
F2.本地址中跟访对象衍生人员情况——根据采集程序列出的跟访对象,填写调查时点时与该跟访对象共同居住的且不是跟访对象的配偶和子女数量,并根据衍生人员数量填报相应的衍生人员模块Y,注意子女既包括亲生子女也包括领养子女。
跟访对象模块P
P1.姓名——填写被登记人的正式姓名。没有正式姓名的可填小名或某某氏,但不能填笔名、代号等。婴儿未起名的,可填“未取名”。
P2.与户主关系——指被登记人与本户户主的关系。申报人不是户主的,不要将被登记人与申报人的关系错填为与户主的关系。
0.户主:按家庭日常生活习惯确定户主。
1.配偶:指户主的妻子或丈夫。
2.子女:指户主的子女。
3.父母:指户主的父母或继父母、养父母。
4.岳父母或公婆:指户主配偶的父母或继父母、养父母。
5.祖父母:指户主或配偶的祖父母、外祖父母、曾祖父母、外曾祖父母。
6.媳婿:指户主子女的配偶。
7.孙子女:指户主的孙子女、外孙子女、孙媳婿、外孙媳婿、重孙子女、重孙媳婿、重外孙子女、重外孙媳婿。
8.兄弟姐妹:指户主及其配偶的兄弟姐妹以及他们的配偶。
9.其他:指以上九种人以外的成员。
在登记家庭户时,户主应登记为第一人,选填“0.户主”。如果户主的配偶也在本户登记,应登记为第二人,选填“1.配偶”,然后再登记该户的其他成员;如果户主没有配偶,或户主配偶不在本户登记,第二人登记本户其他成员。
在登记集体户时,任选一人登记为户主,选填“0.户主”,本户其他成员与户主关系一律登记为其他,选填“9.其他”。
P3.公民身份号码——指18位公民身份号码。无公民身份号码的填写18位0。15位身份证号码的,录入程序会自动换算为18位。
P4.性别——指被登记人的性别。
P5.出生年月——指被登记人的出生年、月。
出生年月按公历填写,只知道农历的,要换算成公历。按照一般的规律,农历的月份与公历的月份相差一个月左右,换算时农历的月份加1即可作为公历的月份,但要注意农历的12月应当是公历下一年的1月。
P6.民族——指被登记人的民族。
外国人加入中国籍,其民族和我国的某一民族相同的,就选填某一民族;没有相同民族的,按外国人加入中国籍填写,选填“入籍”。
P7.调查时点居住地与户口登记地是否在同一个乡(镇、街道)——指调查对象在调查时点时的居住地与居民户口簿上的地址是否在同一个乡(镇、街道)。户口待定人员本题选择选项“1.是”。
P8.户口登记地——指被登记人的居民户口簿上的地址。
1.居住地所在县(市、区、旗)的其他乡(镇、街道):指调查时点居住本住房,户口登记地在本县(市、区、旗)的其他乡(镇、街道)的人。
2.居住地所在县以外的其他县(市、区、旗):指调查时点居住本住房,户口登记地在本县(市、区、旗)以外地区的人。填报本选项的人还需填写户口登记地所在省(区、市)、地(市、州、盟)、县(市、区、旗)的具体名称。
P9.离开户口登记地时间——指到调查标准时点为止,被登记人离开户口登记地(居住地与户口登记地不一致)的时间。
没有离开户口登记地是指户口登记地在本村(居)委会,调查标准时点居住在本住房或本村(居)委会其他住房。
若常年外出的人由于农忙、节假日等原因偶尔回家的,还应该从第一次离开户口登记地的时间开始计算。
P10.离开户口登记地原因——指被登记人离开户口登记地(居住地与户口登记地不一致)的原因。
0.工作就业:指十五周岁及以上因务工经商、工作招聘、调动等原因离开户口登记地的人。
1.学习培训:指六周岁及以上因考入各级各类学校或参加各种学习班、培训班而离开户口登记地的人。
2.随同离开/投亲靠友:指因跟随亲属、投亲靠友而离开户口登记地的人。
3.拆迁/搬家:指因房屋拆迁、改造或者搬家而离开户口登记地的人。
4.寄挂户口:指户口落在集体户或没有在户口登记地居住过、只落户口的人。
5.婚姻嫁娶:指十五周岁及以上因结婚而离开户口登记地的人。
6.照料孙子女:指为照料孙子女而离开户口登记地的人。
7.为子女就学:指为子女就学而离开户口登记地的人。
8.养老/康养:指因旅游(度假)养老/康养、候鸟式养老/康养、回籍贯地养老/康养、居住在养老院而离开户口登记地的人,不包括跟随子女养老。
9.其他:指上述几种以外的原因。
凡具有两种以上原因的,按其主要的原因选填一个标准选项。
P11.户口所在户是否具有农村土地承包经营权——指被登记人户口所在的户是否有农村土地承包经营权。
同一个户口本的人选同一个选项。
户口所在的户应以被登记人的户口簿为准。拥有农村土地承包经营权是指被登记人户口登记地在农村地区或以前的农村地区,目前户口所在的户与集体经济组织签订了农村土地承包合同。
拥有农村土地承包经营权的户,目前可能实际经营承包地,也可能因各种原因不再经营承包地,包括以转包、出租、入股、托管等方式流转所承包土地经营权。
P12.受教育程度——指按照国家教育体制,被登记人接受教育的情况。通过自学或成人学历教育经国家统一考试合格的,分别归入相应的受教育程度。
1.未上过学:指从未接受过各级各类学校教育。包括参加过各种扫盲班或成人识字班学习,且以后再没有接受过各级各类学校教育的人。
2.学前教育:指仅接受过或正在接受专门学前教育机构教育,即在幼儿园或附设幼儿班接受保育和教育。
3.小学:指接受的最高一级教育为小学,无论其是否在校、毕业、肄业或辍学。
4.初中:指接受的最高一级教育为初中,无论其是否在校、毕业、肄业或辍学。
5.高中:指接受的最高一级教育为普通高中、成人高中和中等职业学校,无论其是否在校、毕业、肄业或辍学。
6.大学专科:指接受的最高一级教育为大学专科。在普通高等学校学习大学专科的,无论其是否在校、毕业、肄业或辍学,都填报此项。
凡国家授权承认学历的开放大学、广播电视大学、职工大学等成人高校和普通高等学校举办的函授大学、夜大学和其他形式的大学,按教育部颁布的大学专科教学大纲进行授课的,其毕业生选填此项;其肄业生、在校生按原有受教育程度填报。含成人专科和网络专科。
通过自学,经国家统一举办的自学考试合格,并取得大学专科毕业证书的,也选填此项。
7.大学本科:指接受的最高一级教育为大学本科。在普通高等学校学习大学本科的,无论其是否在校、毕业、肄业或辍学,都填报此项。
凡国家授权承认学历的开放大学、广播电视大学、职工大学等成人高校和普通高等学校举办的函授大学、夜大学和其他形式的大学,按教育部颁布的大学本科教学大纲进行授课的,其毕业生选填此项;其肄业生、在校生按原有受教育程度填报。含成人本科和网络本科。
通过自学和进修大学课程,经考试合格,并取得大学本科毕业证书的,也选填此项。
8.硕士研究生:指接受的最高一级教育为硕士研究生,无论其是否在校、毕业、肄业或辍学。含2016年12月1日以后录取的非全日制硕士研究生。
在职接受硕士研究生教育的,其毕业生选填此项;肄业生和在校生按原有受教育程度填报。
9.博士研究生:指接受的最高一级教育为博士研究生,无论其是否在校、毕业、肄业或辍学。含2016年12月1日以后录取的非全日制博士研究生。
在职接受博士研究生教育的,其毕业生选填此项;肄业生和在校生按原有受教育程度填报。
凡是没有按教育部的教学大纲培养或只学单科的人,不能填报“大学专科”“大学本科”“硕士研究生”或“博士研究生”,一律按原有受教育程度填报。
P13.学业完成情况——指受教育程度为小学及以上的人完成学业的情况。
1.在校:正在接受各级各类学校教育并有学籍。
2.毕业:已修完全部课程,并经过考试鉴定合格。
3.肄业:修完全部课程,但考试不及格或因种种原因未取得毕业资格。
4.辍学:未能修完所规定的全部课程,中途退学。
5.其他:私塾、自学等其他方式。
P14.工作情况——指被登记人在5月25—31日期间,即调查标准时点前一周,是否为取得收入而工作了1小时以上,包括临时工、互联网灵活就业、家庭经营无酬帮工等。
工作是指为获取工资、实物报酬或经营收入而从事的各种生产、经营或服务性活动,其目的是为了取得收入,无论实际是否取得。不包括义务劳动和公益性劳动。
1.是:指在5月25—31日期间,为取得收入而干过固定的、临时的或兼职的工作,并且工作时间超过1小时。在校学生利用课余或假期以及退休人员为取得收入而从事了工作,也选填此项。
在自家或亲属经营的公司、企业、商铺或网店工作,即使本人没有劳动报酬,也选填此项。
选填“1.是”的人,还需填写工作时间。工作时间按在5月25—31日期间实际的工作时间填写,而不是按国家或企业规定的制度工作时间填写。
计算工作时间,要注意把握以下几种情况:
(1)从事一种以上有收入工作的,几项工作时间相加计算。
(2)在规定的工作时间以外加班工作的,加班时间一并计算在内。
(3)农村既干家务又从事农业或其他有收入工作的人,家务劳动时间除外。
2.在职休假、在职学习培训、临时停工(保留工资):
在职休假是指在5月25—31日期间,因各种休假或请假临时未工作,包括公休假、年休假、空勤人员、船员、火车乘务人员的轮休假、病假、工伤假、产假、事假、探亲假、婚丧假等。个人档案、人事关系已在某单位,但因各种原因尚未到新单位报到上班,如军人转业或工作调动等,也视为休假。
在职学习培训是指有工作单位,在5月25—31日期间参加脱产学习或培训。
临时停工(保留工资)是指在5月25—31日期间,由于机械或电力故障、原料或燃料短缺、天气或其他灾害等原因导致的暂时未工作,但仍可以有工资收入。
打零工、计件工等临时就业或灵活就业的人,因为上述原因停工并且没有收入,不填此项,应填“3.未工作”。
3.未工作:指在5月25—31日期间,没有工作单位,也未从事过任何可以有收入的工作。
对于下岗、内退人员,如果未与原单位解除劳动合同,仍有工资性收入的,选填“2.在职休假、在职学习培训、临时停工”;如果没有工资性收入,选填“3.未工作”。对于承包土地的农民,在5月25—31日期间,如果干农活或其他有收入的工作超过1小时,选填“1.是”;如果外出打工,未从事任何工作,选填“3.未工作”;如果正处于农业生产季节,没有外出打工,期间临时没有干农活,选填“2.在职休假、在职学习培训、临时停工”。
对于从事季节性生产经营的人,如果生产经营仍在进行中,只是在5月25—31日期间没有工作,选填“2.在职休假、在职学习培训、临时停工”;如果正处于季节性歇业,选填“3.未工作”。
P15. 上月工作报酬或经营净收入——指在调查时点上一个日历月份,所从事的主要工作的劳动报酬,包括现金和实物,不包括财产性收入和转移性收入。雇员的劳动报酬包括工资、奖金、补贴和津贴等与工作相关的劳动报酬,也包括个人缴纳的公积金、社保等费用。雇主和自营者的劳动报酬是指其生产经营活动的净收入。
劳动报酬要填写具体数目,最高为99999元。如果上月没有得到劳动报酬,可填写最近月份的劳动报酬;按年或不同周期获得劳动报酬的,应折算出月平均劳动报酬;刚开始工作尚未获得劳动报酬的,可填写合同、协议或预计的劳动报酬;实物报酬要折合成现金填报。
P16. 行业——指追踪对象的工作单位主要生产的产品或提供的服务类别,参照《国民经济行业分类(GB/T4754—2017)》,按标准选项据情选填。
P17. 职业——指追踪对象所从事的工作类别,按标准选项据情选填。
1.党的机关、国家机关、群众团体和社会组织、企事业单位负责人:指在中国共产党机关,国家机关,民主党派和工商联,人民团体和群众团体、社会组织及其工作机构,基层群众自治组织,企业、事业单位中担任领导职务并具有决策、管理权的人员。
2.专业技术人员:指从事科学研究和专业技术工作的人员。
3.办事人员和有关人员:指在公共管理和社会组织机构中从事行政业务、行政事务、行政执法和仲裁、安全保卫、消防和应急救援等工作的人员。
4.社会生产服务和生活服务人员:指从事商品批发零售、交通运输、仓储、邮政和快递、信息传输、软件和信息技术、住宿和餐饮以及金融、房地产、租赁和商务技术辅助、生态保护、文化、体育和娱乐等社会生产服务与生活服务工作的人员。
5.农、林、牧、渔业生产及辅助人员:指从事农、林、牧、渔业生产活动及辅助生产的人员。
6.生产制造及有关人员:指从事产品生产及设备制造,矿产开采,工程施工和运输设备操作的人员及有关人员。
7.不便分类的其他从业人员。
P18. 婚姻状况——指被登记人在调查标准时点的实际婚姻状况。
1.未婚:指从未结过婚。
2.有配偶:指有配偶,处于婚姻中。
3.离婚:指曾经结过婚,但已办理了离婚手续且没有再婚,或正在办理离婚手续。
4.丧偶:指配偶已去世,且没有再婚。
人口调查的婚姻是指事实婚姻,不是单指法律意义上的婚姻,对不到法定结婚年龄,或未办理结婚手续而同居、实际结婚的人,应根据其在调查标准时点的实际情况,按照被登记人的申报选填。
P19.目前是否在妊娠期——指到调查标准时点为止,该被登记人(女性)是否正处于怀孕状态。如果处于怀孕状态,还需填报其预产期;如果被登记人不了解自己的预产期,可以询问末次月经时间,末次月经日期的月份加9或减3,为预产期月份数。
P20.是否有过生育——指到调查标准时点为止,15—55周岁妇女生育所有孩子的情况。
1.未生育:指该被登记人(女性)没有生育过子女。
2.有生育:指该被登记人(女性)生育过子女,需填写生育孩子的总个数,并按照生育时间由近及远(即孩子年龄由小到大),依次填写每个孩子的出生时间。(最多填报5个,如生育5个孩子以上,第4个孩子之后填报最后一个。)
P21.是否打算生育或再生育——指被登记人是否有生育孩子的打算或者是否打算继续生育。
P22.打算生育或再生育的时间——根据被登记人的申报情况,选择相应选项。
跟访对象模块D
D1.姓名——同P1。
D2.与户主关系——同P2。
D3.公民身份号码——同P3。
D4.性别——同P4。
D5.出生年月——同P5。
D6.死亡时间——指死亡人口死亡时的年月。
儿童模块 C
C1.姓名——同P1。
C2.居住地详细地址——填写到跟访对象现住详细地址,详细地址一栏需填写到门牌号,例如XX街XX小区名XX号。
C3.公民身份号码——同P3。
C4.性别——同P4。
C5.出生年月——同P5。
C6.民族——同P6。
C7.调查时点居住地与户口登记地是否在同一个乡(镇、街道)——同P7。
C8.户口登记地——同P8。
C9.离开户口登记地时间——同P9。
C10.离开户口登记地原因——同P10。
C11.户口所在户是否具有农村土地承包经营权——同P11。
C12.孩子是否和父母共同居住——指未满18周岁登记人日常与其父亲和母亲共同居住的情况。
1.和父母共同居住:指孩子和父亲、母亲一起居住。
2.和母亲一同居住:指孩子与母亲一起居住,但没有与父亲一起居住。
3.和父亲一同居住:指孩子与父亲一起居住,但没有与母亲一起居住。
4.未和父母共同居住:指孩子没有和父亲居住,也没有和母亲居住。
C13.当前与孩子共同居住的主要照护人是谁——指没有和父母共同居住的未满18周岁的被登记人,日常与之共同居住并行使实际监护看护责任的照护人。对于被登记人有多个照护人的情况,选择一个主要的进行填写。
C14.当前就学状态——按孩子当前就学的实际情况填写。
C15.未在园或在校的主要原因——当前孩子没有上学的主要原因。
凡具有两种以上原因的,按其主要的原因选填一个标准选项。
C16.辍学后学校或政府是否实施干预措施帮助重返校园——对于在义务教育阶段但没有上学的孩子,学校或政府是否实施干预措施帮助重返校园。
C17.当前就读学校类型——当前孩子就读的学校类型。区分学校是公办还是民办,若为民办学校是否取得了政府财政支持。
C18.当前上学面临的主要问题——当前孩子在上学方面所面临的主要问题,可以少于但最多选择三个选项,如果超过三个问题,则选择其中影响最大的三个问题。
C19.接受过的基本公共卫生服务或保健服务——指孩子曾经接受过的基本公共卫生服务或保健服务。
1.建立居民健康档案管理:指为辖区内常住居民(指居住半年以上的户籍及非户籍居民)建立统一、规范的电子居民健康档案。
2.预防接种(如卡介苗、百白破疫苗、乙肝疫苗等):儿童按国家规定接受疫苗接种。
3.0—6 岁儿童健康管理:为0—6岁儿童提供的免费健康检查,主要包括新生儿访视、新生儿满月健康管理,开展体格检查、生长发育和心理行为发育评估,听力、视力和口腔筛查,进行科学喂养(合理膳食)、生长发育、疾病预防、预防伤害、口腔保健等健康指导等。
4.0—3岁儿童中医药健康管理:指为0—3岁儿童每年提供中医调养服务,向儿童家长教授儿童中医饮食调养、起居活动指导和摩腹捏脊穴位按揉方法等。
5.学校定期开展的体检:所在学校为儿童组织的体检。
C20.当前参加的医疗保险保障——指孩子当前参加的医疗保险和保障。
1.城乡居民基本医疗保险:城乡居民基本医疗保险是中国的一项基本医疗保障制度,是由原城镇居民基本医疗保险和新型农村合作医疗两项制度整合而来。参保对象通常面向除职工基本医疗保险应参保人员以外的所有城乡居民,无论其城镇或农村户籍,包括未成年人、无业居民、老年人等群体,采用个人缴费和政府补贴相结合的方式,保障范围通常涵盖住院治疗、门诊大病、普通门诊等多个方面,该保险由人力资源和社会保障部门及卫生健康部门共同管理。
2.大病保险:又称城乡居民大病保险,旨在对基本医疗保险参保人员因患大病发生的高额医疗费用,在基本医疗保险报销基础上进行第二次报销,进一步减轻患者的经济负担,防止因病致贫和因病返贫现象的发生。
其保障范围通常包括多种严重疾病和医疗情况,如特定类型的癌症、心脏病、脑血管疾病、慢性肾功能衰竭需要的透析治疗、重大器官移植、白血病等。是政府医保部门利用医保基金,集体向商业保险公司购买的一种团体保险,具有较强的政策导向性和福利性质。并不独立于基本医疗保险之外,而是基于基本医疗保险,对于超过基本医疗保险报销限额后的高额医疗费用,按照一定比例再次给予报销。按照政策指导,大病保险的报销比例通常不低于50%,旨在有效减轻患者家庭的经济压力。所有参加了城镇居民医保或新型农村合作医疗(现均合并为城乡居民基本医疗保险)的居民自动纳入大病保险的保障范围,无需单独申请加入。
3.医疗救助:医疗救助是指国家和社会向因贫困而无法承担医疗费用的公民提供的专门帮助和支持。这项制度旨在确保所有经济困难的患者都能获得必要的医疗服务,以维护其基本的健康和生存权利。医疗救助通常由政府主导,并鼓励社会力量广泛参与,通过医疗机构实施,为贫困人口提供救治。救助对象主要包括低保人员(享受最低生活保障的家庭成员)、
特困人员(如五保户)、低保边缘家庭成员、纳入监测范围的农村易返贫致贫人口、因病突发严重困难人口、因病支出型困难家庭患者等。救助方式一般包括:(1)补贴救助对象参加城乡居民基本医疗保险的个人缴费部分。(2)对救助对象经基本医疗保险、大病保险和其他补充医疗保险支付后,仍需个人负担的符合规定的基本医疗费用,按一定比例或额度给予补助。
4.商业医疗保险:是由商业保险公司运营并以营利为目的提供的保险产品。
C21.在当前居住地看病就医方面主要存在哪些问题——指孩子在居住地看病和就医存在的问题。
C22.业余时间(上学、睡觉之外的时间)的主要活动——指孩子在非上学和睡觉时间的主要活动。
C23.过去半年遭受过的意外伤害——指孩子在过去半年内所遭受过的意外伤害。
C24.最近一周平均每天上网娱乐时长——指孩子在最近一周平均每天上网娱乐时间,不含上网学习的时间。
C25.除家人以外,业余时间主要和谁在一起——孩子在非上学时间,除了家人以外,主要还和谁待在一起。
C26.在居住地学习生活适应状况——流动儿童在目前居住地的生活学习适应情况。
C27.难以适应居住地的主要原因——不太适应和非常不适应当前居住地学习生活的流动儿童,询问其不适应的原因。
普通衍生人员模块Y
Y1.姓名——同P1。
Y2.与户主关系——同P2。
Y3.公民身份号码——同P3。
Y4.性别——同P4。
Y5.出生年月——同P5。
Y6.民族——同P6。
Y7.受教育程度——同P12。
Y8.调查时点前一周是否为取得收入而工作了一小时以上——同P14。
四、样本信息核实
固定样本由国家统计局依据第七次全国人口普查构建的抽样框以户为单位进行抽取,样本户所属村级单位需进行信息核实。
固定样本所属村级单位信息核实主要对区划名称和代码进行核实更新。
(一)固定样本所属村级样本信息的内容
1.字段NDI,地级单位的名称。
2.字段NXIAN,县级单位的名称。
3.字段NXIANG,乡级单位的名称。
4.字段NCUN,村级单位的名称。
5.字段DZMCODE,村级单位的地址码,12位数字长度。
(二)固定样本所属村级样本信息的核实规则
村级样本信息的核实主要对样本所属区域的名称、代码进行核实。
具体要求如下:
1.如果村级样本的隶属关系有变化,则样本对应的地、县、乡级的汉字名称和地址代码要作相应的变化。
2.村级及以上单位的名称、代码一般以本省(区、市)统计机构统一维护的统计用区划代码库为准。
村级样本信息的变更和替换:
如行政区划名称、代码有变动,须标记变更,并填写修改后的样本信息;固定样本不进行样本调整工作。
(三)固定样本所属村级样本信息核实其他事宜
1.第1次固定样本跟访调查国家统计局下发待核实村级样本的时间是2024年5月15日前。各省(自治区、直辖市)于2024年5月25日前完成村级样本信息核实。
2.第2次固定样本跟访调查国家统计局下发待核实村级样本的时间是2024年9月15日前。各省(自治区、直辖市)于2024年9月25日前完成村级样本信息核实。
五、调查规则
(一)组织实施
固定样本跟访调查由县级统计机构负责分配、协调和管理本辖区的调查任务,组织调查员进行现场调查,监督数据实时上报进度,并负责协调部门行政记录辅助调查以及具体实施本地区数据质量控制工作。省、市级统计机构负责指导本地区调查对象所在的下级统计机构完成调查任务,监督数据实时上报进度和具体实施本地区数据质量控制工作。
(二)调查对象
对于推送到采集程序中的全部待跟访人员,需根据实际情况填报跟访对象模块。一是仍在本户居住的或短期离开的,作为本地址跟访人员进行登记;二是离开本户半年以上或者因拆迁搬家、婚姻嫁娶等原因离开本户不满半年但有长期离开趋势的,作为搬离本地址的人员,记录其现住地详细地址和联系方式,推送至现住地调查;其中非全户搬离的搬离人员,可在本地通过电话访问等方式进行登记。
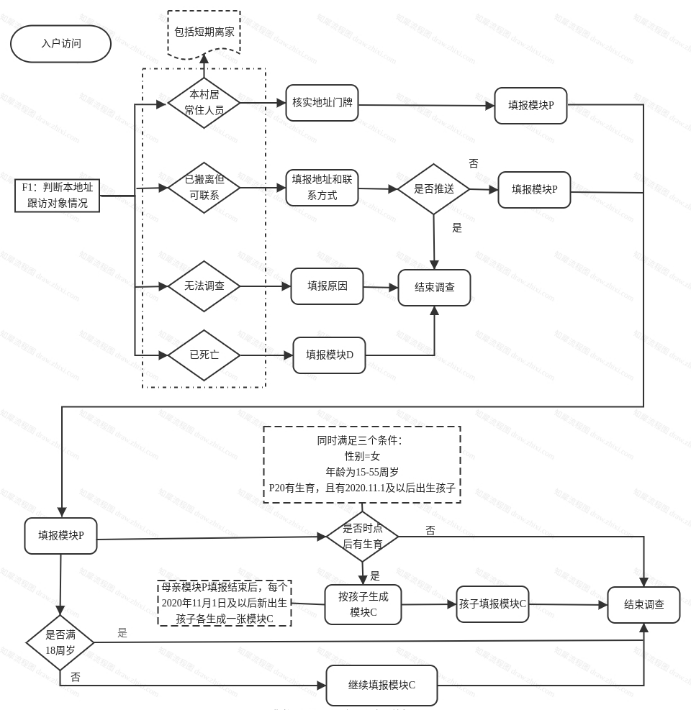
第一次调查中,调查对象为国家统一抽取清单中的指定人员及女性调查对象在2020年11月1日及以后新生的孩子。对于抽中未满18周岁跟访对象,以及女性跟访对象于2020年11月1日及以后新生的儿童须填写儿童表。详细判断流程见图1。
图1 第一次调查入户判断流程示意图

第二次调查的调查对象为国家统一抽取清单中的指定人员及相关衍生人员。衍生人员是指调查时与待跟访人员同住的配偶和子女,需注意衍生人员不是下发跟访名单中的人员,衍生的子女包括亲生和收养两种情况。对于待跟访人员的衍生人员,需判断符合条件的人员填报衍生人员模块。
详细判断流程如图2。
图2 第二次调查入户判断流程示意图

(三)时间安排
第一次调查时间为2024年6月1日至6月25日,第二次调查时间为2024年11月16日至12月5日。
(四)主要工作阶段
每次调查过程分两个阶段进行:第一阶段,各级统计机构根据下发样本所在村级单位对相关区划的名称、代码、城乡属性进行核实更新;第二阶段,调查员根据国家统一抽取的名单在常住地寻找并登记指定人员的相关信息,调查员对常住地发生变化的人员在全国范围内联系寻找并在新的居住地进行登记,各级统计机构做好数据审核工作。
(五)质量控制
各级统计机构要做好全流程质量控制,规范调查基础工作,严把质量控制关。在现场调查过程中和现场调查结束后,需适时通过平台抽查、入户陪访和电话回访等形式加强督导检查,并形成质量控制报告报上级统计机构。
省级统计机构应抽取5%的调查对象进行平台抽查、电话或现场回访,样本规模较小的省份可以适当扩大抽查比例;地市级统计机构应抽取10%的调查对象进行平台抽查、电话或现场回访,样本规模较小的地市可以适当扩大抽查比例;县级统计机构应抽取30%的调查对象进行平台抽查、电话或现场回访,样本规模较小的县有条件的可以适当扩大抽查比例。原则上各级统计机构的合并复查范围应对所有调查员实现全覆盖,确保对每一个调查员的调查行为进行追溯。
各级检查时需重点关注调查员是否按照调查对象名单进行跟访,录音内容是否符合调查要求,拍摄照片与待跟访对象户是否一致,是否与调查对象取得联系,是否遗漏流动和留守儿童、衍生人员,查看调查对象签名是否属实,调查定位和采集时间是否反映疑似未入户,是否按照调查对象情况如实填报,无法联系到调查对象的比例和生育、死亡等重点指标填报情况等,对于检查发现问题的,需及时反馈,并重新核实上报。
六、抽样方案
2024年固定样本跟访调查的样本基于第七次全国人口普查住户列表构建的样本框抽取,调查对象为全国31个省(自治区、直辖市)的住户。
(一)抽样设计原则
1.样本设计以科学性为原则,同时兼顾可操作性。
2.省级行政单位聚类分层使用指标应与跟访调查研究变量高度相关,有效提高分层抽样精度。
3.本调查为跟访调查,基线样本为2020年人口普查时点截面总体的代表性样本,为保证样本始终能代表当前人口总体,在后续各轮次跟访中,需按跟访规则补充衍生人员。
(二)样本量确定
第一次调查按照在95%置信度下将全国人口出生率、死亡率、流动儿童占比、留守儿童占比的抽样估计相对误差控制在5%以内的设计目标,综合考虑调查人员力量、调查经费保障等因素,样本量约为8万户,20余万人;第二次调查按照在95%置信度下将全国人口出生率、死亡率的抽样估计相对误差控制在8%以内的设计目标,样本量约为4万户,10余万人。
各省具体调查样本量见附表。
(三)抽样方法
固定样本跟访调查以全国为总体,以各省(自治区、直辖市)为子总体,采取分层、概率比例、随机等距的抽样方法,首先对各省级行政单位进行分层,然后按比例在各省级行政单位层内进行随机等距抽样,最终抽样单位为住户。
1.省级行政单位分层。充分利用人口普查资料对各省级行政单位内部进行聚类分层。聚类指标分为县域指标和家户指标,其中县域指标包括迁移率、出生率、死亡率等,家户指标包括城乡属性、常住人口规模、儿童比例、老年人口比例、育龄妇女比例等。聚类的原则应尽可能使层内各单位之间异质性小,各层间异质性大。
2.层内抽取住户样本。将全国样本量按规模成比例分配给各省,各省样本量按规模成比例分配至各层,最后采用随机等距方法在各层抽取住户样本。
(四)加权方法
固定样本跟访调查汇总权数依据抽样概率、无应答调整系数等确定,由国家统计局人口和就业统计司统一计算。
附表
人口固定样本跟访调查样本量
|
地区 |
年中调查 |
年末调查 |
||
|
户数 |
人数 |
户数 |
人数 |
|
|
合计 |
86694 |
201911 |
43519 |
101276 |
|
北京 |
1575 |
3154 |
790 |
1643 |
|
天津 |
1002 |
2178 |
502 |
1098 |
|
河北 |
4278 |
10617 |
2146 |
5284 |
|
山西 |
2202 |
4925 |
1106 |
2522 |
|
内蒙古 |
1594 |
3526 |
800 |
1736 |
|
辽宁 |
2855 |
6199 |
1434 |
3065 |
|
吉林 |
1618 |
3465 |
811 |
1792 |
|
黑龙江 |
2262 |
4703 |
1134 |
2344 |
|
上海 |
1725 |
3612 |
865 |
1803 |
|
江苏 |
5250 |
12108 |
2635 |
6004 |
|
浙江 |
4361 |
9243 |
2190 |
4612 |
|
安徽 |
3643 |
8646 |
1826 |
4357 |
|
福建 |
2475 |
5868 |
1242 |
2964 |
|
江西 |
2542 |
6479 |
1278 |
3200 |
|
山东 |
5938 |
14528 |
2981 |
7284 |
|
河南 |
5732 |
14086 |
2879 |
7067 |
|
湖北 |
3532 |
8324 |
1774 |
4105 |
|
湖南 |
4000 |
9467 |
2009 |
4842 |
|
广东 |
8059 |
18016 |
4043 |
8975 |
|
广西 |
2816 |
7155 |
1414 |
3590 |
|
海南 |
565 |
1423 |
283 |
775 |
|
重庆 |
2074 |
4593 |
1042 |
2323 |
|
四川 |
5296 |
12032 |
2660 |
6003 |
|
贵州 |
2204 |
5426 |
1107 |
2701 |
|
云南 |
2650 |
6766 |
1331 |
3441 |
|
西藏 |
202 |
496 |
102 |
300 |
|
陕西 |
2521 |
5587 |
1266 |
2820 |
|
甘肃 |
1434 |
3636 |
719 |
1814 |
|
青海 |
340 |
866 |
171 |
431 |
|
宁夏 |
430 |
1078 |
216 |
537 |
|
新疆 |
1519 |
3709 |
763 |
1844 |


