繁体
加入收藏
首页
走进八公山
综合信息
政府信息公开
文化旅游
政务服务
政民互动
数据发布
首页
走进八公山
综合信息
政府信息公开
文化旅游
政务服务
政民互动
数据发布
您的位置:
首页
>
信息公开
> 八公山区教育体育局
>
行政执法
>
行政处罚
>
行政处罚分表和流程图
索
引
号:
003061255/202602-00008
信息分类:
行政处罚分表和流程图
内容分类:
发布日期:
2026-02-12 09:29
发布机构:
八公山区教育体育局
成文日期:
生效时间:
废止时间:
名
称:
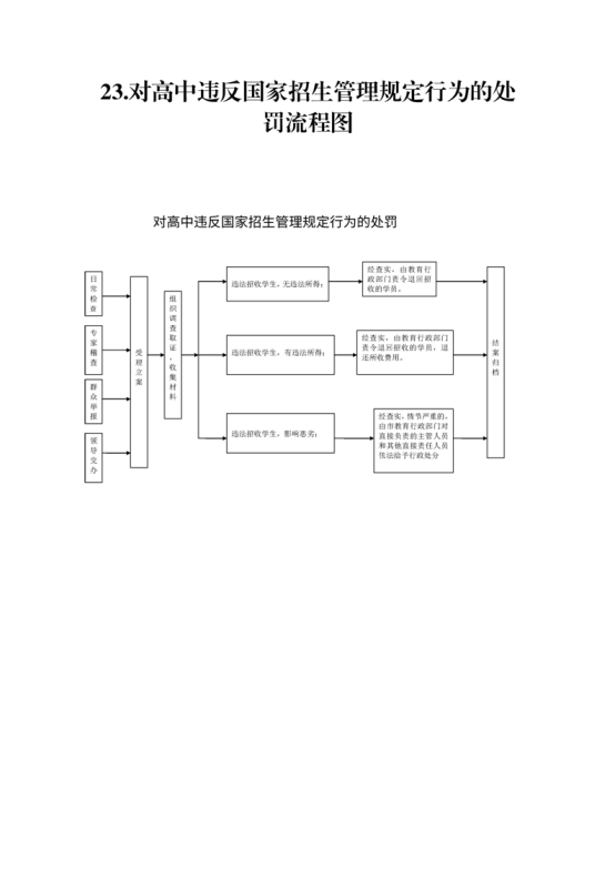
【行政权力事项流程图】八公山区教育体育局行政处罚事项流程图(2025年版)
点
击
量:
文
号:
关
键
词:
索
引
号:
003061255/202602-00008
信息分类:
行政处罚分表和流程图
内容分类:
发布日期:
2026-02-12 09:29
发布机构:
八公山区教育体育局
成文日期:
生效时间:
有
效
性:
名
称:
【行政权力事项流程图】八公山区教育体育局行政处罚事项流程图(2025年版)
点
击
量:
文
号:
关
键
词:
【行政权力事项流程图】八公山区教育体育局行政处罚事项流程图(2025年版)
发布时间:2026-02-12 09:29
信息来源:八公山区教育体育局
文字大小:[
大
中
小
]
背景色:
正在更新中...
为进一步了解掌握社会公众对政策执行效果的反馈与评价,请您对该政策的制定及执行提出宝贵的意见或建议。我们将及时收集并分析,共同助力政策不断完善。
姓 名:
联系方式:
*
内 容:
*
验 证 码:
打印本页